|
|||||||||||||||||||||||||||||||||
|
|
||||||||||||||||||||||||||||||||
SPECIFICATIONS: |
FerroFilter®
electromagnetic
separators for pipeline installation
|
![]() |
![]() |
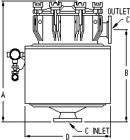
| Model 63* elements of design shown are common to Series F1 models | Model 463* matrix has same diameter, 4 times the length of Model 63 matrix |
![]() |
|
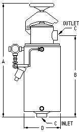
| Model
283*
swing bolt closures like Model 83 |
Model 93C* ASME pressure vessel |
| *To show connections, orientations differ from actual. Request outline drawings for accuracy. | |
|
n
|
Height
Overall (A)
|
Height
to Outlet (B)
|
Inlet & Outlet (C)** |
Diameter of Body (D) |
Current @ 115 V dc |
Capacity,
heavy slurries |
Net
Weight |
Shipping
Weight |
||||
|
Model
No.
|
inches
centimeters |
Amps |
U.S.
gph
lph |
pounds
kilograms |
||||||||
|
43
|
17
43.2 |
9.68
24.6 |
1.5
3.8 |
8.63
21.9 |
1.2 |
130-400
492-1514 |
81
37 |
94
43 |
||||
|
243
|
21
53.3 |
13.94
35.4 |
1.5
3.8 |
9
22.9 |
3.5 |
133
60 |
155
70 |
|||||
| 53 | 18.75
47.6 |
10.25 26.0 |
2
5.1 |
10.75
27.3 |
1.8 | 300-900
1136-3407 |
110
50 |
140 64 |
||||
| 63 | 28.5 72.4 |
15.25 38.7 |
3 7.6 |
14
35.6 |
2.5 | 650-2000 2460-7570 |
288
131 |
330 150 |
||||
| 263 | 35
88.9 |
21.5 54.6 |
3 7.6 |
15 38.1 |
8.0 | 485
220 |
690
313 |
|||||
| 463 | 47
119.4 |
34.25
87.0 |
3 7.6 |
15 |
16.0 | 850 386 |
1065
483 |
|||||
| 73 | 25.25
64.1 |
17 43.2 |
4
10.2 |
21
53.3 |
7.0 | 1300-4000 4921-15,140 |
720
327 |
920
417 |
||||
| 273 | 32
81.3 |
24
61.0 |
4
10.2 |
21
53.3 |
14.0 | 800
363 |
850
386 |
|||||
| 83 | 31.75 80.6 |
22.38
56.8 |
4**
10.2** |
28
71.1 |
8.0 | 2600-8000 9841-30,280 |
1325
601 |
1430 649 |
||||
| 283 |
39.88 101.3 |
30.38 77.2 |
4**
10.2** |
28
71.1 |
16.0 | 1900
862 |
2030 921 |
|||||
| 93C | 59
149.9 |
36
91.4 |
6**
15.2** |
41.5
105.4 |
20.5 | 5500-17,000
20,818-64,348 |
3600
1633 |
3790
1719 |
||||
|
** Flanged Models Marked ** Indicates water-cooled
models |
||||||||||||